From semiconductor raw materials to the conversion into various integrated circuits or discrete devices, hundreds of chemical reactions with different levels of complexity are utilized in the conversion process. There is no doubt that a large amount of special materials and chemicals are required in the semiconductor manufacturing industry. Chip manufacturing is primarily a chemical process, or more accurately, a series of chemical processes. Up to 20% of the process steps involve cleaning and wafer surface treatment. In recent years, the optoelectronic and photovoltaic semiconductor industries have developed rapidly, with increasingly complex manufacturing processes, narrower line widths, and higher process requirements. The production process requires the use of a large amount of chemicals, which are all hazardous and corrosive to some extent. Therefore, how to safely transport these chemicals to the process equipment for use while ensuring quality, and how to reasonably recycle and dispose of these used chemicals, will be important issues for the production safety of semiconductor industry factories. These issues place higher demands on the continuous trouble-free operation capability of various systems in the factory and the quality of process-related raw materials provided.
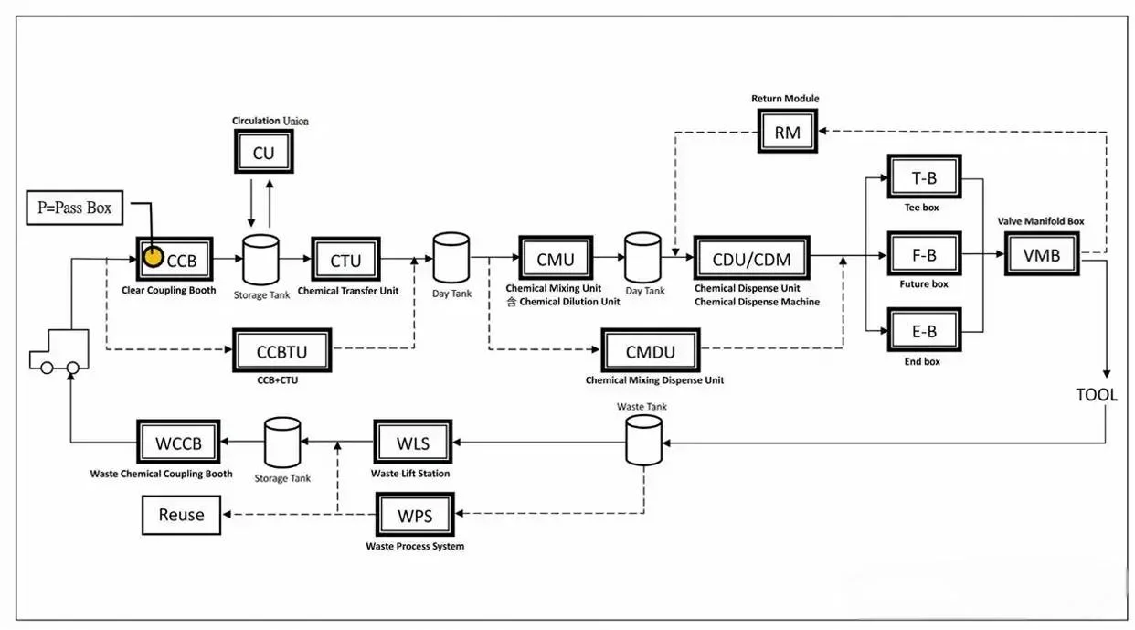
The Central Chemical Dispense System (CDS) is a system that provides a 24-hour uninterrupted supply of chemical solutions for production lines. It is widely used in industries such as integrated circuits, semiconductor material processing, LEDs, solar photovoltaics, MEMS, and discrete devices for automatic chemical solution supply in wet equipment. It enables automatic solution dispensing, replenishment, and preparation, and is a core support system for many processes. The central chemical solution supply system, together with the facility power system and the exhaust gas and waste liquid treatment system, constitutes the facility system of industrial enterprises, providing support for the operation of core process equipment. In semiconductor enterprises, the central chemical solution supply system is mainly used for centralized distribution of etching solutions required for wet etching and cleaning processes, which are piped to equipment, enabling high automation, precise proportioning, easy operation, and good corrosion resistance. The CDS system mainly supplies solutions for processes such as lithography development, wafer cleaning, wet etching, thin film preparation, chemical mechanical polishing, grinding, and cleaning of accessory carriers.
